Flint Radio Company
By Floyd Paul
The Flint Radio Company was likely started in the Spring of 1928. The company's first ads were found in the Fall of that year. Alex Hirsch was the founder and owner of the company. The company's first address was 150 So. Glendale where A. J. Edgcomb, owner of the Wireless Shop, was located. It is felt Alex Hirsch rented space from A. J. Edgcomb for a period of a few months.
The Flint company, like many other small Los Angeles radio manufacturers must have come under the surveillance of the Gilfillan Co. and in order to obtain an RCA license on their set they had to take their production lines to the Gilfillan plant. This event occurred in the Fall of 1929.
About this time, the company moved to 3440-46 So. Hill St., and changed its name to the Flint Radio Corporation, and then moved to 2425 W. Washington. By 1931 the company moved again and this time it was into the plant of Jackson-Bell where they shared space and fmally merged or sold to Jackson-Bell in 1931.
Earlier Radio Sets of 1928 to 1930
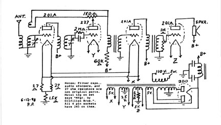
No 1928 sets have been located but two 1929 sets called "The FLINT Chiefs (Figure 1) were found in Tony Handler's collection. He loaned them to the author to inspect and evaluate. The tapestry grille cloth picture was different on the two sets but the cabinets were physically identical. S/N 11,560 set had been totally rebuilt and was not useful in developing a schematic. The tapestry picture on it was a three story house by a stream. S/N 15,285 set had the tapestry picture of a large tree in the foreground and the set had enough original parts that a schematic diagram (Figure 2) could be developed.
The printed advertising material on the back of the cabinet had an address of 344046 So. Hill St. and it showed the placement of the 3-201A's, a 227 and a 280 tube. See Figure 3.By mid 1930 the Flint Radio Corporation had designed and brought to market a unique line of radio cabinets whose motif was based upon early California Missions. The first two models to go into production were the Dolores Mission and the San Gabrielle Mission cabinets. In the latter part of the year the San Luis Rey (Del Rey model) and the Fantasy (a non-Mission design) were on the drawing boards. (Authors' note: It is believed the Mission line of sets did not sell well and the latter two designs never went into production.)
Radio Set Index |
![]() Figure 1. The FLINT Chief | |
| 1928 | Little Chief, $49.50, 7 tubes | |
| AX Console, $150, 7 tubes | ||
| C Console, $135, 7 tubes | ||
| CX Console, $99.50, 7 tubes | ||
| 1929 | Chief, 3-OlAs, 27, 80, | |
| 79 Console, $59.50, 5-27s, 45, 80 | ||
| 113 Console, $135, 2-27s, 2- 24s, 45, 80 | ||
| 129, Console, $152, 2-27s, 2- 24s, 45, 80 | ||
| 1930 | Mission table models Dolores and San Gabrielle, $59.50, 3-24s, 45, 80 | |
| 1931 | Superhetrodyne, table model, 3-24s 2-27s, 2-45s, 80 Peter Pan, (Pee Wee model), $24.95, 2-24s, 47, 80 | |
Footnote
The author, Floyd Paul, talked to a Mr. Charles Mitchell over the phone in 1994. Charles gave the following information about his father, Alex Hirsch.
"My father was a part-owner of a company called General Instruments on the East Coast. He sold his interest, was paid off by the company giving him a quantity of instruments made by them, and he moved to Los Angeles in the late twenties. He set up an outlet at 10th and Broadway and sold the equipment."
Charles said his dad started the Flint Radio Company in about 1928. He said Ray Stolle who had made a reputation for having developed a salable line of radios for Fritz Falck, owner of Advance Electric, came to work for his dad and may have been offered a "piece" of Flint Radio Co.
Charles remembers the Flint radio chassis being assembled at the Gilfillan plant and that his father had a close relationship with Herb Bell, owner of Jackson-Bell. He also said, " My father changed his name to Michell in the late 1930's and joined up with Emmit Hughes in a company called Mitchell-Hughes. This new company had some HiFi sets made ant the Gilfillan plant. I remember console sets consisting of simple tuners and audio components."

Figure 2. Schematic of the Flint Chief. The author's notes read "Filter caps, audio transformers and 27-ohm resistors are not original parts. A metal tag on the set reads " Mfg. by Gilfillan Bros.": All four-pin sockets have 245 printed on them."
Editor's note: The plate feedback coil here is located on the antenna coil instead of the usual location on the detector coil. Seems strange. Perhaps Floyd made an error in tracing the circuit, OR the person restoring the set wired it incorrectly.

Figure 3. Label on the rear of the Chief cabinet.