HOMEBREW REGENERATIVE SHORT WAVE RECEIVERS
	By Floyd E. Carter
2029 Crist Drive
Los Altos, CA 94024
|  |  | 
| Figure 1 | |
Finding and restoring old radios is an important and rewarding effort. Important because the supply is definitely limited, and there will be no more. The people who, by cunning, guile, or luck, are able to obtain old radios for little money and carefully restore them to pristine condition have my greatest respect for their work.
My first experience with an old radio was in my high school electrical shop about 1948. The shop teacher gave me a receiver chassis to rebuild as a project. It was missing critical parts and the teacher promised to provide them. He never did, and my eight-tube radio chassis remained unfinished. I had neither the funds nor the necessary connections with manufacturers to supply the missing parts.
So now, instead of facing the probability of having a workshop full of old radios each needing some critical part to complete restoration, I have had more success by first collecting parts and then designing a suitable project around what parts are available. There is always the hope of making improvements, especially when the best features of many schematic diagrams are combined.
Crystal set receivers have always been a source of fascination, ever since my first crystal set built as a nine-year-old Cub Scout. The fact that all of the electrical energy driving my earphones has come only from the E-M waves transmitted through thin air took a long time to sink into my brain. Crystal sets are generally not satisfactory for short wave reception because signals outside the AM broadcast band are usually very weak.
I am still exploring the potential of regenerative receivers operating in the HF bands. Although difficult to adjust properly, they have excellent sensitivity, and they represent a lot of performance for the expenditure of few parts. The regenerative detection process produces exceptional sensitivity and gain by amplifying the received radio signal a bit and then feeding a portion of the output back into the input to be amplified again. This regeneration occurs over and over again, typically providing signal gains of over 40 dB in one stage. The feedback in the regenerative detector must be adjustable, and is set to provide signal feedback just below the point where the detector suddenly receives too much feedback and becomes an oscillator. Oscillation of the detector masks the received signal and renders it useless until the stage gain is reduced. If one gets accustomed to the occasional squeals and howls of improperly adjusting a regenerative set, weak signals can be copied.
Recent projects have been very satisfactory. The two-tube regenerative receiver shown in Figure 1 is made from old radio parts of the 1930s and features a pair of #30 filament tubes with 3 volts on the filaments and a B+ supply of six 9-volt transistor radio batteries connected in series. The regenerative stage is first, followed by a transformer coupled audio amplifier stage. A plug-in coil sets the HF tuning range. The schematic diagram for this radio was inspired by a similar schematic published in the 1934 Official Short Wave Radio Manual.(1).
My version uses an output audio transformer of about 3:1 impedance ratio to drive the 2000 Ohm headphones. The original schematic ran the B+ through the magnetic headphones used as the plate load impedance. I didn't like the idea of B+ so close to my ears! This radio also features a manually adjustable antenna link coupling. Regeneration in this design is controlled by a variable capacitor, called a "throttle capacitor." The variable reactance of this capacitor shunts part of the feedback signal to ground to control the overall regeneration.

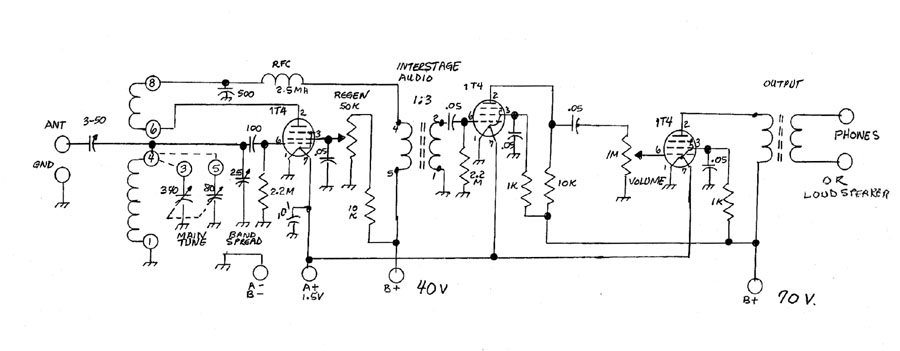
Figure 2
The three-tube short wave regenerative receiver shown in Figure 2 features 1T4 miniature pentode tubes and more modern components. Tube lineup is the regenerative detector and two audio stages, with both audio stages transformer coupled. Inspiration for this design came partly from ideas published in The Xtal Set Society Newsletter,2 and the book Secrets of Homebuilt Regenerative Receivers.(3) Pentodes have much higher gain than triodes, so this radio has sufficient power to drive a loudspeaker. Regeneration is easily controlled by adjusting the screen voltage on the 1T4 regenerative detector with a potentiometer from the B+. Instead of the usual B battery pack, I designed a dc-dc converter which provides 60V unregulated and 40V regulated B+. The converter operates from three D-size NiCd cells. The 1.5 Volts for tube filaments is provided by two of the NiCd cells with a series diode to drop the voltage close to 1.5 V.
			
		Schematic of the 3-tube regenerative receiver
		(click for enlarged view)
The chassis is made from hardware store sheet brass stock, which looks really nice when polished. The dial is home brew, using a Jackson Bros. ball reduction unit just behind the front panel. The upper left knob is the antenna coupling capacitor. Upper right knob is a band-spread variable capacitor. I found it necessary to include a volume control because the loudspeaker audio is often way too loud.

		Schematic of the Power Supply
You SCARS members with a good supply of old parts can find good use for them by building something that resembles a radio of the 1930s. I encourage you to make the effort. Nice old parts are available by contacting Gary Schneider at Play Things of the Past.4
References:
11934 Official Shortwave Radio Manual. Edited by Hugo Gernsback. 259 pg. Available from The Xtal Set Society
2Xtal Set Society. P.O. Box 1625, Norman, OK 73070. www.midnightscience.com
3Secrets of Homebuilt Regenerative Receivers. C.F. Rockey. 127 pg. Available from the Xtal Set Society
4Play Things of the Past. Vintage parts from Gary Schneider at www.oldradioparts.com.